DSRs420 回放地面站
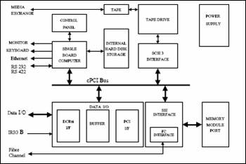
AMPEX DSRs 420 回放地面站设计用来下载DSRs 记录器上所收集的数据。记录器有固态或磁盘式移动闪存模块(RMM)。RMM 模块被插入位于DSRs 420前面的RMM 端口。地面站是装有Windows/ Linux系统的个人电脑,网络平台,有19″安装机架。
AMPEX DSRs 420是基于cPCI 而建立的系统配置,其功率与配置取决于应用要求。主要作用包括:将已下载的RMM 数据形成文档或形成由文件系统控制的文档系列以便后续识别,保存和数据一起采集到的IRIG 时间码信息来支持数据搜索,以很高的速率(50Mb/s 或以上)将数据下载到当地RAID磁盘,并最终自动将数据备份归档到磁带进行保存。
对于按照IRIG 106 第10章的格式进行记录的RMM,回放站将通过软件反变换将数据解码,因此节省了额外的地面处理软件的费用。通过这种方式,从多个传感器平台上所记录的数据可以被单独进行处理或者与其他有时间相关性的数据一同进行分析。
DSRs 420的壳体很坚固,可以安装于移动车载上。
通过选择软件, DSRs 420可以被配置为地面记录器,具有与DSRs440 同样功能.
AMPEX
可以提供小型的回放系统,也可提供一个带有大容量归档与应用处理软件的齐全系统。
产品特点:
l
19″固定机架
l
基于PCI
组建
l
用于固态RMM和磁盘的端口
l
符合IRIG
106 第10章的格式
l
STANAG 4575 格式
l
DCRsi 格式
l
高速下载
l
可联接网络
l
数据归档
l
Windows/Linux 平台
l
可连接DST
归档系统
产品规格:
处理器
CPU
奔四,2.4
GHz
内存
512 MB
硬盘
400 GB
只读存储器
CD-RW/DVD
操作系统
Windows 2000 PRO
网络接口 吉比特以太网
功率
输入电压
110-220 V
线路频率
50-60 Hz
功耗 250W

物理指标
尺寸
7″×19″× 16″
重量 45 lbs
接口选择
l
LTO 磁带驱动
l
PCI 400 并行ECL
接口
l
外部RAID
l
SCSI 接口
l
附加内部硬盘
l 光纤通道接口
